Obiegi chłodzące oparte o wodę lub mieszaninę wody
z glikolem i ewentualnie innymi dodatkami, stosowane do
regulacji temperatury w różnych maszynach i instalacjach
przemysłowych, wymagają niezawodnego systemu regulacji
ich temperatury, niezależnie od warunków pracy i otoczenia.
Takie układy chłodzenia stosowane są przykładowo we
wtryskarkach w przetwórstwie tworzyw sztucznych,
w przekładniach mechanicznych, w sprężarkach powietrza
i innych gazów technicznych, w układach hydrauliki siłowej,
w maszynach stosowanych w górnictwie czy w obrabiarkach.
W takich przypadkach doskonałym rozwiązaniem okazuje się zawór termostatyczny umieszczony na obiegu chłodzącym, którego stopień otwarcia zmienia się w zależności od temperatury czynnika chłodzącego. Im temperatura czynnika jest wyższa, tym zawór bardziej się otwiera, zwiększając przepływ czynnika chłodzącego i przyspieszając efekt chłodzenia. Gdy temperatura zacznie znów spadać, zawór automatycznie będzie się stopniowo przymykał. Efektem jest utrzymanie temperatury na właściwym stałym poziomie.
Dlaczego zawór termostatyczny?
- niezawodny i samoczynny: nie wymaga zasilania elektrycznego
- zawiera w sobie kompletny układ automatycznej regulacji: czujnik, regulator i zawór będący elementem wykonawczym, nie potrzeba dodatkowych komponentów
- z wielu innych powodów, tylko przykładowo:
● odporność na zanieczyszczenia,
● brak wpływu spadku ciśnienia na zaworze na jego pracę,
● dostępne wersje mosiężne i ze stali nierdzewnej
Typowe obszary zastosowań
|
|
Rodzaje zaworów termostatycznych Danfoss do obiegów chłodzących
• AVTA DN10-DN25 z czujnikiem na kapilarze – gdy najważniejsza jest stała temperatura w wybranym punkcie instalacji, innym niż miejsce pracy zaworu. Dla instalacji do maks. DN25 / G1” i maks. Kv 5,5 m3/h
Przykładowa instalacja:
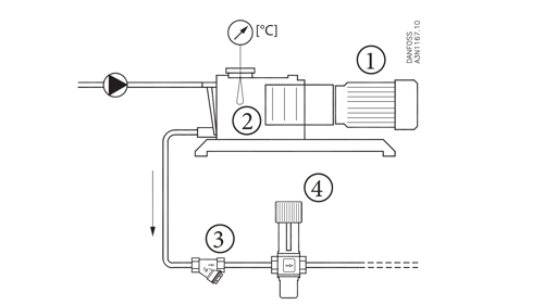
Utrzymywanie prawidłowej temperatury w maszynie do formowania wtryskowego (wtryskarce)
|
|
1. Dopływ cieczy chłodzącej 2. Zawór termostatyczny typu AVTA 3. Wymiennik ciepła 4. Zestaw pompowy 5. Wtryskarka |
• FJVA DN15-DN25 z czujnikiem wbudowanym w zawór – gdy utrudniony jest montaż osobnego czujnika w instalacji i wystarczy bardziej zgrubna regulacja temperatury. Dla instalacji do maks. DN25 / G1” i maks. Kv 5,5 m3/h
Przykładowa instalacja: Regulacja temperatury oleju w przekładni olejowej
|
1. Pompa próżniowa 2. Przekładnia olejowa 3. Filtr 4. Zawór termostatyczny FJVA |
|
• WVTS DN32-DN100 z czujnikiem na kapilarze – do dużych przemysłowych instalacji chłodzących. Dla instalacji DN32-DN100 (przyłącza kołnierzowe) i Kv 12,5 – 125 m3/h
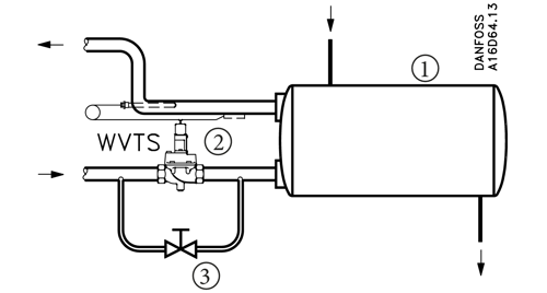
Przykładowa instalacja:
Utrzymywanie prawidłowej temperatury procesu poprzez wymianę ciepła wody/glikolu w zbiorniku buforowym lub w wymienniku ciepła
|
|
1. Zbiornik wody lub wymiennik ciepła 2. Zawór termostatyczny WVTS 3. Zawór obejściowy (otwierany na czas rozruchu instalacji) |
Dobór – podstawowe czynniki do uwzględnienia
1) wielkość zaworu – zawór musi przepuścić wystarczającą ilość cieczy chłodzącej, jednocześnie nie może być przewymiarowany, aby nie doprowadzić do niestabilnej pracy (zawór przewymiarowany może prowadzić do niepożądanych oscylacji układu regulacji)
2) miejsce pomiary temperatury – w miarę możliwości należy dobrać zawór z czujnikiem oddalonym, zatem AVTA lub WVTS, umieszczonym w takim miejscu w instalacji, gdzie temperatura czynnika chłodzącego jest najważniejsza, a jeśli to niemożliwe, można zastosować zawór z czujnikiem wbudowanym (FJVA).
3) temperatura w miejscu pomiaru vs. temperatura czynnika w zaworze i pozycja montażu czujnika: w przypadku zaworów AVTA powinniśmy wybrać model z jednym z trzech dostępnych rodzajów czujników (zawory WVTS mają zawsze czujnik z wypełnieniem uniwersalnym)
- wypełnienie adsorpcyjne – do montażu w dowolnym miejscu (cieplejszym lub chłodniejszym, niż zawór) i w dowolnej pozycji; szeroki zakres regulacji od 10 do 80°C;
- wypełnienie uniwersalne – do montażu w dowolnym miejscu (cieplejszym lub chłodniejszym niż zawór), ważne aby czujnik był skierowany w dół lub poziomo; różne zakresy regulacji: 0-30°C, 25-65°C, 50-90°C;
- wypełnienie masowe – czujnik musi być skierowany ku górze i być w miejscu cieplejszym, niż zawór; charakteryzuje się krótką stałą czasową, zatem zawór reaguje szybciej na zmiany temperatury; zakresy regulacji: 0-30°C lub 25-65°C
Więcej informacji dotyczących doboru znajdziesz w kartach katalogowych poszczególnych typów zaworów.
Dedykowane produkty:
AVTA DN10-DN25 z czujnikiem na kapilarze
Gdy najważniejsza jest stała temperatura w wybranym punkcie instalacji, innym niż miejsce pracy zaworu. Dla instalacji do maks. DN25 / G1” i maks. Kv 5,5 m3/h

FJVA DN15-DN25 z czujnikiem wbudowanym w zawór
Gdy utrudniony jest montaż osobnego czujnika w instalacji i wystarczy bardziej zgrubna regulacja temperatury. Dla instalacji do maks. DN25 / G1” i maks. Kv 5,5 m3/h

WVTS DN32-DN100 z czujnikiem na kapilarze
Do dużych przemysłowych instalacji chłodzących. Dla instalacji DN32-DN100 (przyłącza kołnierzowe) i Kv 12,5 – 125 m3/h



